2007 Toyota Camry Blend Door Actuator Location

Toyota Camry 2007 Xle Heater Servo Control Actuator No Heat Or Defrost Heat Camry 2007 Toyota Camry Camry

Toyota Camry 2007 Xle Heater Servo Control Actuator No Heat Or Defrost Heat Camry 2007 Toyota Camry Camry

2007 Toyota Camry Accessing Door Blend Actuator Youtube

2007 Toyota Camry Accessing Door Blend Actuator Youtube

Toyota Camry Questions Where Is Located Blend Door Actuator In 2003 Cary 4 Cyl Cargurus

Toyota Camry Questions Where Is Located Blend Door Actuator In 2003 Cary 4 Cyl Cargurus

Blend Door Actuator My Heater Only Blows Cold Air A Guy At

Blend Door Actuator My Heater Only Blows Cold Air A Guy At

No Air Flow From Vents In Dash Dash Buick Park Avenue Vented

No Air Flow From Vents In Dash Dash Buick Park Avenue Vented

For Toyota Genuine Hvac Heater Blend Door Actuator Right 8710612170 Ebay

For Toyota Genuine Hvac Heater Blend Door Actuator Right 8710612170 Ebay

For Toyota Genuine Hvac Heater Blend Door Actuator Right 8710612170 Ebay

Removing floor duct to access the actuator if you need to repair replace actuator.

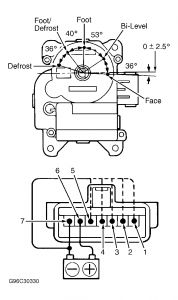
2007 toyota camry blend door actuator location.

Equip cars trucks suvs with 2007 toyota camry a c heater blend door actuator from autozone. We have the best products at the right price. Recirculation door controls. Four seasons 8710607140 8710633270 air door actuator.

I set the heat to high but only cold air blows out. It does not have dual temperature control. In my case there was no heat coming from blower when knob was in hot setti. Where is located blend door actuator in 2003 cary 4 cyl.

When i first start up my car the rear defrost button blinks about 12 times then the fan will kick on my a c and fan work fine. When i try to change it to heat the air will blow but will come out barely warm. What is the location of the blend door actuator on a camry le 2007. I m trying to find the location for the a c heat blend door on my 2008 camry.

Hot air don t blow through the vent. Fits blend door actuator or mode door controls which vents. 2004 camry xle v6 heat issue hi i read the messages and my problem is the same. Blend door controls the blend of hot and cold air.

Where is located the blend door actuator on 2003 toyota camry 2 answers. So i am inclined to think my problem is the blend door actuator as mentioned in this thread. The old actuator did move but was not working correctly. Asked by svjatogor 1876 feb 09 2017 at 07 35 pm about the 2003 toyota camry le.

Genuine toyota part 8710607081 87106 07081 8710607080 8710641040. The coolant level is fine and both pipes to and from the heater core are very hot to the touch. Where is located blend door actuator in 2003 cary 4 cyl. I also have no control on the the air flow direction.

Part number is 15 73209. Posted by joe russell on nov 12 2016. 2007 toyota camry 2 4l where is the blend door and electric motor actuator that regulates heated air flow. Toyota 2007 camry 2 4l l4 heat air conditioning heater blend.

Chrysler 300 And Dodge Charger 2006 08 Dual Zone Hvac Removal Installation Repair Guide Autozone

Chrysler 300 And Dodge Charger 2006 08 Dual Zone Hvac Removal Installation Repair Guide Autozone

Lexus Servo Motor Air Mix Hot Cold Noise Install By Froggy Youtube

Lexus Servo Motor Air Mix Hot Cold Noise Install By Froggy Youtube

Blend Door Vs Mode Door Actuator Global Parts Distributors Llc

Blend Door Vs Mode Door Actuator Global Parts Distributors Llc

Heater Not Working My 2007 Camry Will Not Blow Hot Air While

Heater Not Working My 2007 Camry Will Not Blow Hot Air While

Chevrolet Impala Questions I Wsnt To Know Where The Actual Blend Door Is Located Not The Actuator Cargurus

Chevrolet Impala Questions I Wsnt To Know Where The Actual Blend Door Is Located Not The Actuator Cargurus

Toyota Blend Door Actuator Repair Youtube

Toyota Blend Door Actuator Repair Youtube

Air Vent Control The Air Vents Only Blow Air From The Driver And

Air Vent Control The Air Vents Only Blow Air From The Driver And

Chrysler Sebring Questions Hi 03 Sebring Lexi Where Is Air Blend Door No Sie From Front 4 Vent Cargurus

Chrysler Sebring Questions Hi 03 Sebring Lexi Where Is Air Blend Door No Sie From Front 4 Vent Cargurus

Oe Solutions Air Door Actuator Servo Air Mix 604 901 Toyota Camry Premium Cars Toyota

Oe Solutions Air Door Actuator Servo Air Mix 604 901 Toyota Camry Premium Cars Toyota

My 2010 Camry Is Blowing Hot Air On Driver Side And Cold Air In Passenger Side It Is Fine And Full I Think It Is The

My 2010 Camry Is Blowing Hot Air On Driver Side And Cold Air In Passenger Side It Is Fine And Full I Think It Is The

2005 Jeep Liberty Blend Door Actuator Location The Door

2005 Jeep Liberty Blend Door Actuator Location The Door

Front Defroster Not Working When I Turn On My Front Defroster It

Front Defroster Not Working When I Turn On My Front Defroster It

Satria Neo Fuse Box Location Fuse Box Fuses Fuse Box Cover

Satria Neo Fuse Box Location Fuse Box Fuses Fuse Box Cover

Sponsored Ebay Valeo Ac Compressor For 2010 2013 Volvo Xc60 3 2l 3 0l L6 Mq Volvo Xc60 Ac Compressor Volvo

Sponsored Ebay Valeo Ac Compressor For 2010 2013 Volvo Xc60 3 2l 3 0l L6 Mq Volvo Xc60 Ac Compressor Volvo

Wiring Diagram Cars Trucks Electrical Wiring Diagram Diagram Camry

Wiring Diagram Cars Trucks Electrical Wiring Diagram Diagram Camry

Blend Door Actuator Symptoms Everything You Need To Know

Blend Door Actuator Symptoms Everything You Need To Know

Heater Blows Cold Air My Heat Blows Cold Air And Unable To

Heater Blows Cold Air My Heat Blows Cold Air And Unable To

Ac Temperature And Mode Servo Motor Replacement Lexus Is300 Youtube

Ac Temperature And Mode Servo Motor Replacement Lexus Is300 Youtube

Https Encrypted Tbn0 Gstatic Com Images Q Tbn 3aand9gcrccfhwpgnuto6iueixziz0zryqxg6x3yiz9zkikcze7437lsjx Usqp Cau

Https Encrypted Tbn0 Gstatic Com Images Q Tbn 3aand9gcrccfhwpgnuto6iueixziz0zryqxg6x3yiz9zkikcze7437lsjx Usqp Cau

Buick Lesabre Fuse Box Rear Underseat Pull 33 For Hvac Buick Lesabre Fuse Box Buick

Buick Lesabre Fuse Box Rear Underseat Pull 33 For Hvac Buick Lesabre Fuse Box Buick

Symptoms Of Bad Blend Door Actuator Youtube

Symptoms Of Bad Blend Door Actuator Youtube

How To Replace Core Heater Unit Toyota Camry Years 1992 To 2014 Youtube

How To Replace Core Heater Unit Toyota Camry Years 1992 To 2014 Youtube

Replacing The Damper Door Actuator For The Heat Ac Youtube

Replacing The Damper Door Actuator For The Heat Ac Youtube

Ford Transit Custo Towbar Wiring Diagram Http Bookingritzcarlton Info Ford Transit Custo Towbar Wiring Diagram Ford Transit Ford F150 F150

Ford Transit Custo Towbar Wiring Diagram Http Bookingritzcarlton Info Ford Transit Custo Towbar Wiring Diagram Ford Transit Ford F150 F150

Defrost Not Working When I Switch To Defrost The Air Continues To

Defrost Not Working When I Switch To Defrost The Air Continues To

Apdty 857360 Door Lock Actuator Motor Fits Right Or Left Side Sliding Door 2001 2007 Chrysler Voyager 2001 Grand Caravan Chrysler Voyager 2007 Dodge Caravan

Apdty 857360 Door Lock Actuator Motor Fits Right Or Left Side Sliding Door 2001 2007 Chrysler Voyager 2001 Grand Caravan Chrysler Voyager 2007 Dodge Caravan

Solved Is There A Way To Electronically Reset The Blend Door Fixya

Solved Is There A Way To Electronically Reset The Blend Door Fixya

Pin On Gadgets World

Pin On Gadgets World

1992 1996 Toyota Camry Blend Door Actuator Replacement Youtube

1992 1996 Toyota Camry Blend Door Actuator Replacement Youtube

Pin By Jeff Hoffman On Slammed Dually Build Ideas Electrical Diagram Automotive Electrical Chevy

Pin By Jeff Hoffman On Slammed Dually Build Ideas Electrical Diagram Automotive Electrical Chevy

Heater Parts For Toyota Sienna For Sale Ebay

Heater Parts For Toyota Sienna For Sale Ebay

How To Replace A Blend Door Actuator 2007 Hummer H3 Ticking Noise In Dash Youtube

How To Replace A Blend Door Actuator 2007 Hummer H3 Ticking Noise In Dash Youtube

How To Fix A Car Heater In Under 30 Minutes

How To Fix A Car Heater In Under 30 Minutes

Hvac Blend Door Actuator Toyota 87106 33260 Toyota Parts

Hvac Blend Door Actuator Toyota 87106 33260 Toyota Parts

Amazon Com Dorman 604 947 Hvac Blend Door Actuator For Select Toyota Models Automotive

Amazon Com Dorman 604 947 Hvac Blend Door Actuator For Select Toyota Models Automotive

Pin On Auto Parts

Pin On Auto Parts

Diagram Of Circuit In Home Yellow Arrows Show Current Flow

Diagram Of Circuit In Home Yellow Arrows Show Current Flow

No Heat I Have Very Little Heat The Fluid Is Fine But No Heat

No Heat I Have Very Little Heat The Fluid Is Fine But No Heat

Sino Banyan Girly Diamond Bling Steering Wheel Cover 15 I Steering Wheel Cover Steering Wheel Jeep Wrangler Rubicon

Sino Banyan Girly Diamond Bling Steering Wheel Cover 15 I Steering Wheel Cover Steering Wheel Jeep Wrangler Rubicon

Amazon Com A Premium Hvac Heater Blend Door Actuator Replacement For Toyota Avalon Camry Highlander 2005 2016 Main Automotive

Amazon Com A Premium Hvac Heater Blend Door Actuator Replacement For Toyota Avalon Camry Highlander 2005 2016 Main Automotive

Hvac Heater Blend Door Actuator Global 1712064 Ebay

Hvac Heater Blend Door Actuator Global 1712064 Ebay

How To Replace A Door Lock Actuator On 2014 Toyota Camry Youtube

How To Replace A Door Lock Actuator On 2014 Toyota Camry Youtube

A C Blows Hot Air Toyota Nation Forum

A C Blows Hot Air Toyota Nation Forum

Https Encrypted Tbn0 Gstatic Com Images Q Tbn 3aand9gctrccoa39svbdveogr7ky3 Luhfs6d1xb1ahz0mjlg5ersaswgy Usqp Cau

Https Encrypted Tbn0 Gstatic Com Images Q Tbn 3aand9gctrccoa39svbdveogr7ky3 Luhfs6d1xb1ahz0mjlg5ersaswgy Usqp Cau

Source : pinterest.com